Запасные части ЧТЗ Запасные части ЧТЗ
Иваново
Например:
Актобе
Алдан
или
Выбрать автоматически
Актобе
Алдан
Алматы
Алчевск
Архангельск
Астана
Астрахань
Атырау
Баку
Балашиха
Барнаул
Белгород
Бердянск
Бишкек
Владивосток
Владикавказ
Воркута
Воронеж
Горловка
Грозный
Донецк
Екатеринбург
Иваново
Ижевск
Иркутск
Казань
Калининград
Каменск-Уральский
Караганда
Каховка
Кемерово
Киров
Комсомольск-на-Амуре
Костанай
Краснодар
Красноярск
Красный луч
Ленск
Луганск
Магадан
Магнитогорск
Макеевка
Махачкала
Мелитополь
Минск
Мирный (Якутия)
Москва
Мурманск
Нерюнгри
Нижневартовск
Нижний Новгород
Нижний Тагил
Новая каховка
Новокузнецк
Новосибирск
Новый Уренгой
Норильск
Ноябрьск
Нур-Султан
Омск
Оренбург
Ош
Павлодар
Пермь
Петрозаводск
Петропавловск
Петропавловск-Камчатский
Псков
Ростов-на-Дону
Салехард
Самара
Санкт-Петербург
Саратов
Севастополь
Семей
Симферополь
Сочи
Ставрополь
Сургут
Сыктывкар
Тараз
Ташкент
Токмак
Томск
Тында
Тюмень
Ульяновск
Усинск
Усть-Каменогорск
Уфа
Хабаровск
Ханты-Мансийск
Херсон
Челябинск
Чита
Шымкент
Экибастуз
Энергодар
Южно-Сахалинск
Якутск
Ваш город
Иваново
Войти
Запасные части к тракторам на одном сайте
+7 (932) 303-00-10
+7 (932) 303-00-10
г. Иваново, ул. Сосновая, д. 20А
Пн-Пт: 9:30-18:30 Cб-Вс: Выходной
Отправить заявку


Установка передних трубопроводов на Т-170


/
с НДС 20%
Описание
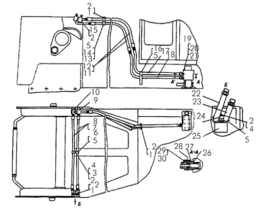
Установка передних трубопроводов Т-170
Поз.НаименованиеАртикулКол-во в сборке
0Установка передних трубопроводов50-26-45СП1
1БолтМ12Х25.58.0195
2Шайба12ОТ65Г0912
3БолтМ12Х45.58.0197
4Гайка30114
5Прижим 50-60-2305
6Втулка418321
7Рукав 1650-26-485-04СП2
8Рукав 16 для тропиков50-26-485-05СП2
9Корпус50-26-450СП1
10Корпус50-26-451СП1
11Рукав 50-26-487-02СП Ø 25 мм, L =1160 мм2
12Рукав 25 для тропиков50-26-487-03СП2
13Кронштейн50-26-721
14Болт286481
15БолтМ12Х55.58.0194
16Кронштейн50-26-212СП1
17Труба50-26-259СП1
18Труба50-26-259-01СП1
19Шайба 16ОТ65Г091
20Болт 284171
21Гайка700-30-24171
22Труба50-26-452СП1
23Труба50-26-452-01СП1
24Планка50-26-2841
25Кронштейн50-26-440СП1
26Кольцо 467642
27Штуцер18-26-5612
28Кольцо 468562
29Планка18-26-237-012
30Планка18-26-237-022
Установка передних трубопроводов