Запасные части ЧТЗ Запасные части ЧТЗ
Иваново
Например:
Актобе
Алдан
или
Выбрать автоматически
Актобе
Алдан
Алматы
Алчевск
Архангельск
Астана
Астрахань
Атырау
Баку
Балашиха
Барнаул
Белгород
Бердянск
Бишкек
Владивосток
Владикавказ
Воркута
Воронеж
Горловка
Грозный
Донецк
Екатеринбург
Иваново
Ижевск
Иркутск
Казань
Калининград
Каменск-Уральский
Караганда
Каховка
Кемерово
Киров
Комсомольск-на-Амуре
Костанай
Краснодар
Красноярск
Красный луч
Ленск
Луганск
Магадан
Магнитогорск
Макеевка
Махачкала
Мелитополь
Минск
Мирный (Якутия)
Москва
Мурманск
Нерюнгри
Нижневартовск
Нижний Новгород
Нижний Тагил
Новая каховка
Новокузнецк
Новосибирск
Новый Уренгой
Норильск
Ноябрьск
Нур-Султан
Омск
Оренбург
Ош
Павлодар
Пермь
Петрозаводск
Петропавловск
Петропавловск-Камчатский
Псков
Ростов-на-Дону
Салехард
Самара
Санкт-Петербург
Саратов
Севастополь
Семей
Симферополь
Сочи
Ставрополь
Сургут
Сыктывкар
Тараз
Ташкент
Токмак
Томск
Тында
Тюмень
Ульяновск
Усинск
Усть-Каменогорск
Уфа
Хабаровск
Ханты-Мансийск
Херсон
Челябинск
Чита
Шымкент
Экибастуз
Энергодар
Южно-Сахалинск
Якутск
Ваш город
Иваново
Войти
Запасные части к тракторам на одном сайте
+7 (932) 303-00-10
+7 (932) 303-00-10
г. Иваново, ул. Сосновая, д. 20А
Пн-Пт: 9:30-18:30 Cб-Вс: Выходной
Отправить заявку


Крышка гидрораспределителя на Т-170


/
с НДС 20%
Описание
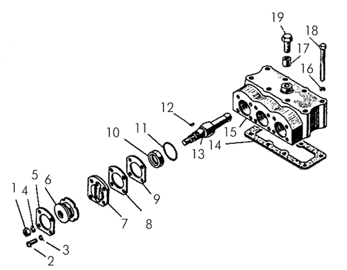
Крышка гидрораспределителя Т-170
Поз.НаименованиеАртикулКол-во в сборке
0Крышка верхняя с деталями50-26-611
1ГайкаМ12-6Н.6.0193
2ВинтBМG-8gХ18.58.01912
3Шайба6 65Г 0912
4Шайба12ОТ65Г093
5Шайба700-31-26683
6Чехол700-40-82973
7Фланец50-26-7573
8Прокладка50-26-764-0115
9Прокладка50-26-76413
10Кольцо50-26-7653
11Кольцо 700-40-73741
12Шпонка700-34-20143
13Рычаг50-26-7583
14Прокладка700-40-82981
15Крышка50-26-7471
16Шайба8Т65Г098
17Втулка50-26-7461
18БолтМ8-6gХ70.58.0191
19Штуцер700-41-36311
Крышка гидрораспределителя