Запасные части ЧТЗ Запасные части ЧТЗ
Иваново
Например:
Актобе
Алдан
или
Выбрать автоматически
Актобе
Алдан
Алматы
Алчевск
Архангельск
Астана
Астрахань
Атырау
Баку
Балашиха
Барнаул
Белгород
Бердянск
Бишкек
Владивосток
Владикавказ
Воркута
Воронеж
Горловка
Грозный
Донецк
Екатеринбург
Иваново
Ижевск
Иркутск
Казань
Калининград
Каменск-Уральский
Караганда
Каховка
Кемерово
Киров
Комсомольск-на-Амуре
Костанай
Краснодар
Красноярск
Красный луч
Ленск
Луганск
Магадан
Магнитогорск
Макеевка
Махачкала
Мелитополь
Минск
Мирный (Якутия)
Москва
Мурманск
Нерюнгри
Нижневартовск
Нижний Новгород
Нижний Тагил
Новая каховка
Новокузнецк
Новосибирск
Новый Уренгой
Норильск
Ноябрьск
Нур-Султан
Омск
Оренбург
Ош
Павлодар
Пермь
Петрозаводск
Петропавловск
Петропавловск-Камчатский
Псков
Ростов-на-Дону
Салехард
Самара
Санкт-Петербург
Саратов
Севастополь
Семей
Симферополь
Сочи
Ставрополь
Сургут
Сыктывкар
Тараз
Ташкент
Токмак
Томск
Тында
Тюмень
Ульяновск
Усинск
Усть-Каменогорск
Уфа
Хабаровск
Ханты-Мансийск
Херсон
Челябинск
Чита
Шымкент
Экибастуз
Энергодар
Южно-Сахалинск
Якутск
Ваш город
Иваново
Войти
Запасные части к тракторам на одном сайте
+7 (932) 303-00-10
+7 (932) 303-00-10
г. Иваново, ул. Сосновая, д. 20А
Пн-Пт: 9:30-18:30 Cб-Вс: Выходной
Отправить заявку


Блок управления дизелем с пусковым двигателем на Т-170


/
с НДС 20%
Описание
Блок управления дизелем с пусковым двигателем Т-170
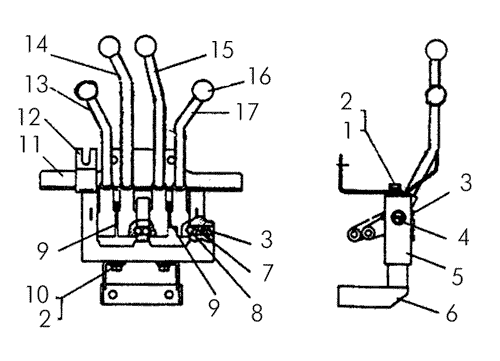
Поз.НаименованиеАртикулКол-во в сборке
0Блок управления дизелем с пусковым двигателем 51-74-208СП1
1БолтМ10Х25.58.0192
2Шайба10ОТ65Г094
3Шплинт4Х503
4Ось700-47-21041
5Кронштейн51-74-851
6Кронштейн51-74-214СП1
7Пружина385061
8ШарикБ10-2003
9Прокладка18-74-1221
10БолтМ10Х20.58.0192
11Кронштейн51-74-1171
12Кронштейн51-74-1121
13Рычаг51-74-215СП1
14Рычаг51-74-164СП1
15Рычаг51-74-162СП1
16Ручка 722-17-584
17Рычаг51-74-216СП1
Блок управления дизелем с пусковым двигателем